Endereço
Nº 1, Yd Road, distrito de Huishan, cidade de Wuxi, Jiangsu. 214183
Horário de trabalho
De segunda a sexta-feira: das 9h às 17h
Sábado: 9h - 16h
Os desenhos de perfil dos perfis conformados a frio são o fator mais importante no projeto dos rolos da máquina de conformação a frio.
A variedade de formas não é limitada. E as formas podem ser classificadas arbitrariamente como Simples, Abertas, Fechadas, de Complexidade Média, Muito Complexas e Painéis.

A profundidade do perfil corresponde à dimensão vertical máxima da seção de aço ao sair dos últimos estágios de conformação. Essa profundidade influencia o número de estágios de conformação necessários e, consequentemente, o projeto da máquina de conformação. Para uma mesma seção transversal, quanto maior a profundidade, maior o número de estágios de conformação necessários.
A largura da parte plana, a seção não conformada, geralmente não influencia o número de passes de perfilagem. No entanto, quanto mais larga a seção plana (parte não conformada) e mais fino o material, maior a possibilidade de ocorrência de ondulações. Independentemente da qualidade do projeto dos cilindros, eles não podem eliminar completamente as ondulações. No projeto de cilindros de máquinas de perfilagem, existem muitas maneiras de reduzir ou eliminar ondulações nas bordas ou no centro.
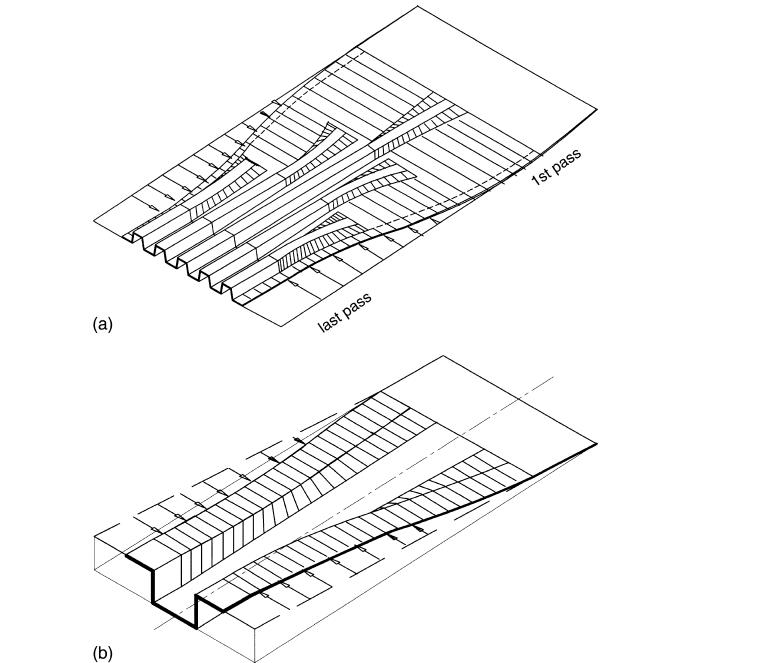
Componentes largos, planos e sem forma definida apresentarão diferentes dificuldades durante a conformação por rolos. Se apenas um lado do produto for conformado e o restante da tira for largo e plano, uma pequena pressão nessa parte plana fará com que ela se alongue. Esse elemento alongado pode criar curvatura, torção ou ondulação nas bordas.
Durante a conformação por rolos de painéis largos e sulcados, a conformação às vezes começa na nervura central. Nesses casos, além da modificação progressiva dos ângulos de dobra de passe para passe, seções planas relativamente largas em ambos os lados precisam ser deslocadas lateralmente, dentro do mesmo plano, cada vez mais próximas do centro. Deslocar uma chapa fina e plana lateralmente sem criar grandes ondulações não é uma tarefa fácil.

O cliente, o projetista da seção transversal e o projetista da máquina de perfilagem devem concordar com a interpretação das dimensões e tolerâncias especificadas nos desenhos dos perfis antes do início do projeto dos rolos da máquina de perfilagem.
As tolerâncias do produto também afetarão o projeto do rolo. Quanto menor a tolerância, mais suportes serão necessários.
A curvatura, o arqueamento, a torção, o efeito de arco, o efeito espinha de peixe, a ondulação nas bordas ou no centro podem ser causados pela natureza da conformação por rolos, bem como por imperfeições no material, no equipamento e na configuração. As ferramentas têm grande influência nas tensões residuais, que criam desvios de retilineidade e planicidade. Um bom projeto de conformação por rolos elimina ou minimiza esses problemas; um projeto ruim os cria ou os agrava.
Acredite na Empresa do Setor está envolvida no projeto e fabricação máquinas de perfilagem de rolos Há mais de 10 anos, contamos com uma equipe experiente para projetar máquinas de perfilagem para seções transversais especializadas.
Saiba mais sobre Projeto de Máquina de Conformação de Perfis.
Uma máquina de perfilagem de placas de andaime é uma máquina industrial automatizada...
Leia maisUma máquina de perfilagem de rolos para estantes de armazenamento é uma solução inteligente para fábricas...
Leia maisUma máquina de perfilagem escalonada é uma máquina industrial avançada de conformação de rolos...
Leia maisUma máquina de perfilagem de estrutura no México é uma linha de produção automatizada de alta velocidade...
Leia maisAssine agora para continuar lendo e ter acesso ao arquivo completo.
